| 本事例はVer.2.2での計算結果です。Ver.2.2のEPC法計算は、従来スライス法で得られた接近量を用いて、面圧計算のみ実施しているため、面圧計算後の荷重値が従来スライス法と若干異なってきます。このため、完全に荷重値が一致した比較にはなっていません。Ver.2.3では、EPC法にて荷重-変位計算を含めた計算が実施できるようになり、完全に荷重値が一致した比較ができるようになっています。 Ver.3.1の開発により、本事例は「従来スライス法+EPC法」を使用することで、再現可能になりました。 |
クロスローラー軸受のEPC法によるころ接触面圧分布計算
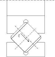
1つのクロスローラー軸受がφ50mmの丸棒を、支持しており、軸先端に外力が作用したときの最大荷重をうける転動体のころ軸方向荷重分布を、従来のスライス法とEPC法で算出し、両者の比較を行います。

図1 クロスローラー軸受と軸の系
軸受に組込まれる円筒ころはφ10×10(クラウニングなし)、チャンファ=0.5mm、ころ本数は20本、PCD=80mm、内輪外径=77mm、外輪内径=83mm、内外輪溝底部ヌスミ転走面方向長さ=0.7mmとします。荷重は、軸受位置から100mm離れた位置に1000Nのラジアル荷重が負荷されるとします。ころは200分割します。
<解析結果>
1.転動体荷重計算結果

図2 クロスローラー軸受の転動体荷重
RACE-1, RACE-2は下図の通りです。

RACE-1 RACE-2
図3 クロスローラー軸受の転走面番号ところ軸方向座標
RACE-1はX軸正方向のアキシャル荷重を受けることができる転走面で、RACE-2はその反対側の転走面です。
図2から、RACE-1では、11番の転動体、RACE-2では、1番または20番の転動体が最大の荷重を受けており、RACE-2の方が大きな荷重を受けていることがわかります。
2.ころ軸方向荷重分布
最も大きな荷重を受けている RACE-2 の2番目のころについて、スライス法による軸方向接触面圧分布を図4に、EPC法による軸方向接触面圧分布を図5に示します。

図4 従来スライス法によるころの接触面圧分布(RACE-2, ころ番号2)

図5 EPC法によるころの接触面圧分布(RACE-2, ころ番号2)
図4のスライス法では、エッジロード計算ができません。これは、MOYER法では、内輪転走面が切れる内輪外径部や外輪内径部でのエッジロード計算ができないのと、今回、転走面の溝底部にヌスミを設けたため、ころチャンファ部に荷重が発生しないためです。
一方、図5のEPC法で計算すると、転走面端部両側で、特に内輪外径または外輪内径で大きなエッジロードが発生していることがわかります。(ころ全長は10mmであり、チャンファ部を除外した、ころ有効長さは±4.5mmです。転走面溝底のヌスミもあり、ころ端部両側とも、転走面と接触していません)。
転走面荷重によりころが傾斜し、内輪外径または外輪内径と大きく干渉するため、大きなエッジロードが発生すると考えられます。
参考までに、外輪側について、スライス法とEPC法を比較して図6に示します。

図6 EPC法と従来スライス法の比較(RACE-2, ころ番号2, 外輪側)
図6から、スライス法とEPC法の違いが良くわかります。
但し、ころの外輪側に発生している荷重は、以下のように、若干異なっています。
従来スライス法 :1009(N)
EPC法 :1128(N)
なお、荷重負荷点のたわみ計算結果もROBPACSから出力されますが、ここでは割愛しました。
| (注)本事例では、従来スライス法で解いたころ変位・傾斜角の状態で、EPC法による接触面圧計算を実施していますが、Ver.2.3よりこの機能はなくなり、EPC法にて、すべてのころに対して、荷重・モーメントの釣合(変位・傾斜角)を解くようになります。このため、Ver.2.3からは本事例の再現はできません。 ちなみに、図6はVer.2.3で計算すると、転動体の荷重・モーメントの釣合を解くため、下図のようになります。 ![]() 図7 EPC法と従来スライス法の比較(Ver.2.3)(RACE-2, ころ番号2, 外輪側) このときの転動体荷重は、以下のようであり、接触剛性の違いにより、若干違いが生じます。 従来スライス法 :1009(N) EPC法(Ver.2.3):1010(N) |
〒438-0088
静岡県磐田市富士見台4−8
TEL 0538-33-3239
FAX 0538-34-9094
e-mail info@korogari-kaiseki.com